1
/
of
3
EBB & FLOW
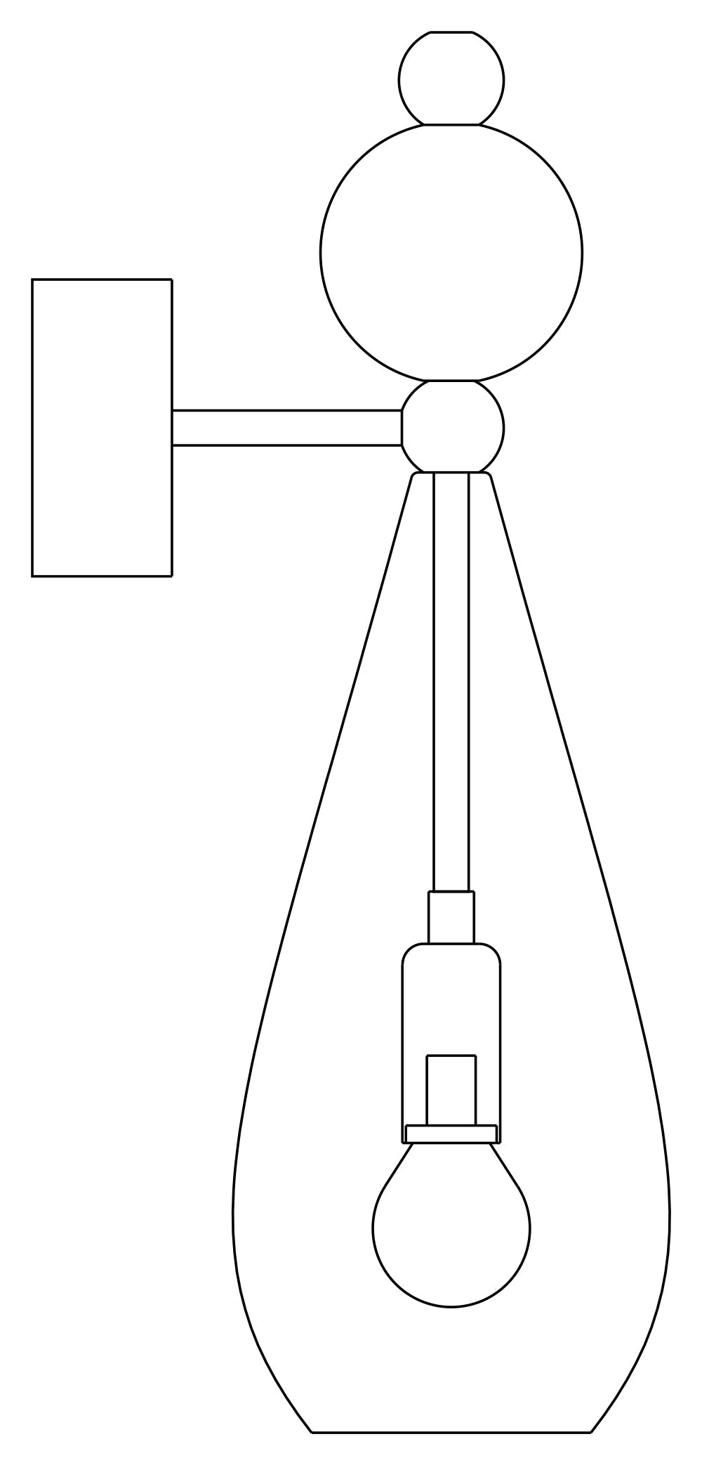
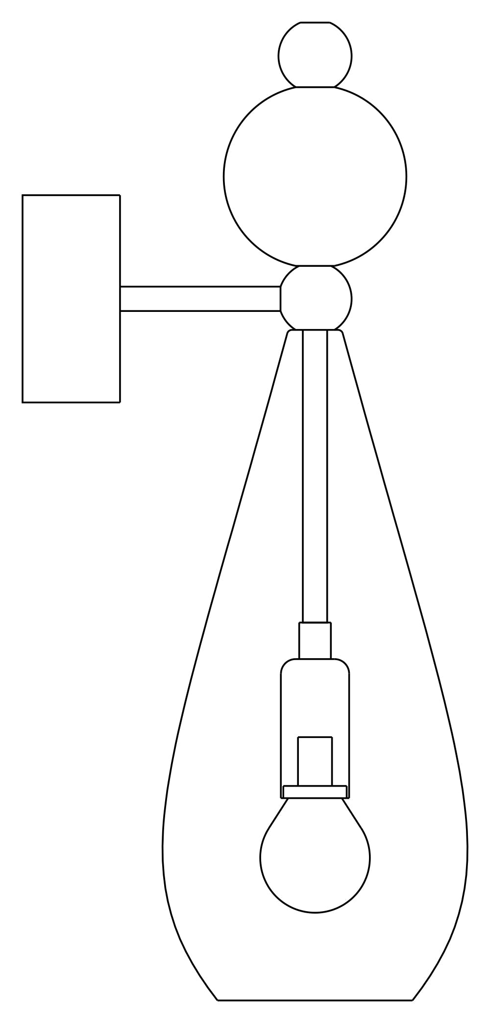
Smykke Wall lamp M Crystal check Topaz blue ball
Smykke Wall lamp M Crystal check Topaz blue ball
Regular price
£569.00
Regular price
Sale price
£569.00
Unit price
/
per
Tax included.
Shipping calculated at checkout.
Couldn't load pickup availability
Introducing Smykke: a collection of effortless beauty, embodying lightness and elegance. Inspired by the grace of an earring, Smykke offers versatile options as a pendant, wall lamp, or table lamp with various top and bottom combinations. Available in medium and large sizes, the Smykke wall lamp brings a touch of elegance to any space. Hand-built in Denmark, these lamps showcase exquisite mouth-blown glass, highlighting their unique and artistic design.
Share
